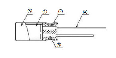
无论是插件电容还是贴片电容的安装工艺,电容本身在PCB上都是直立的。根本区别在于,贴片过程中安装的电容器具有黑色橡胶底座。
贴片型的优势主要在于生产时。它的高度自动化和精度也很高,在运输过程中不像插件那样容易损坏。然而,安装过程需要波峰焊接过程,高温后电容可能会影响性能。特别是对于阴极使用电解质的电容,高温后电解质可能会变干。

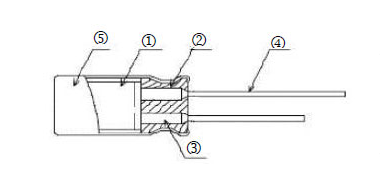
无论是插件电容还是贴片电容的安装工艺,电容本身在PCB上都是直立的。根本区别在于,贴片过程中安装的电容器具有黑色橡胶底座。
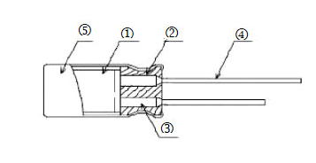
贴片型的优势主要在于生产时。它的高度自动化和精度也很高,在运输过程中不像插件那样容易损坏。然而,安装过程需要波峰焊接过程,高温后电容可能会影响性能。特别是对于阴极使用电解质的电容,高温后电解质可能会变干。

公司: 深圳市捷比信实业有限公司
电话: 0755-29796190
邮箱: tao@jepsun.com
产品经理: 陆经理
QQ: 2065372476
地址: 深圳市宝安区翻身路富源大厦1栋7楼

获取最新公司新闻和行业资料。